
The heavy verge Flail Mowers are flail mowers with hydraulic arm for clearing larger, wider areas, roadsides verges, orchards and vineyards.
1. Fitted with a high power 50hp gear box;
2.Cutting height controlled by adjustable skids;
3.High strength mulching blades
4. Hammer blade
Standard Hammer Blade
Optional part: Hydraulic valve
-The Verge Flail Mowers are flail mowers with hydraulic am for cleaning larger, wider
areas, roadsides verges, orchards and various inclining and declining land surfaces;
-Specially designed for universal use the head of the mower can be operate in line with
the tractor or offset for verge maintenance and field boundaries.
-The Verge Flail Mowers are suitable for roadside verge, tree trimming and general mulching;
-Hydraulic side adjustment;
-Hydraulic inclining adjustment;
-Rear roller wheel;
-High power 50hp gearbox;
-Self leveling;
-High strength mulching blades;
-Safety flaps;
-Extra strong and designed with safety in mind;
-Support legs for storage;
-Solid hitch.
-Front safty chains plus rubber protection
Uses:
AGF-PRO verge flail muchers are super heavy duty mowers designed for Cat-II tractors. They feature very heavy 43 ounce cutting blades that can chop heavy brush including grasses, debris, sticks, vines, branches and other wooded materials up to 4” in Diameter.
Feature
AGF pro takes our AGF mower and adds an openable rear deck for faster mowing when you do not need fine mulching (it is also nice for changing blades) a holder for your hoses when not attached and a floating right side 3-point connection to allow the mower greater flex when following the contours of the ground
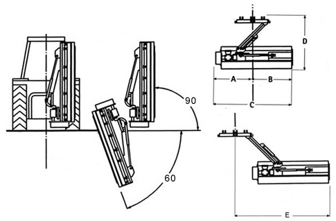
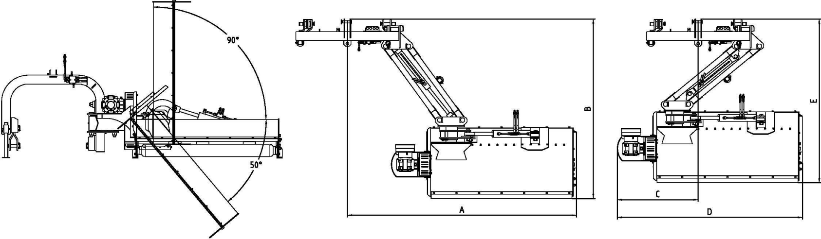
The mower head is attached to a hydraulic arm allowing you to swing the mulcher beyond your tractors wheels. The head may be pivoted hydraulically up 90 degrees for hedge or hill side work or down 55 degrees for ditch or bank work. Connect it to our optional 4-way hydraulic control valve with a hydraulic float and the mulcher will follow the contours of the terrain.
Heavy side mower with open hood
• For 50-80 HP tractors (37-60 kW)
• Gear box with cast iron free wheel
• External gearbox
with shock protection
• Adjustable rear roller with scraper
• Chains and rubber protection
• Adjustable tensioner
• Side skids
• Removable toothed counter-knife
• Universal 3-pt. hitch cat.I and II
• Antishock valves for safety (standard)
• Dual cylinder for moving the shredder
• CE safety guards
Horizontal Extension: 7 feet 8.4 inches
Vertical Extension: 5 feet 10 inches
4” Cutting Capacity
Reverse Rotor Rotation: Standard
Balanced Rotor & Shaft: Standard
Front Flappers: Standard
Side Skids: Standard
External Belt Adjustment: Standard
Adjustable Rear Deck